French press coffee makers, their history
One of those hot summer afternoons in Seville, when even the sunflowers seek shade, some friends decided to go looking for shelter.
We made all the necessary preparations for a weekend away: mosquito spray and specialty coffee beans, along with all the geeky paraphernalia needed to prepare it. Or so we thought. We also brought a tent, food, and other supplies, but none of it was truly essential.
We found a secluded spot in the mountains next to a riverbank. It was paradise. The daytime temperature never rose above 28 or 30 degrees, which, compared to the 42 degrees in Seville, made us question our existential decisions.
The thing is, we woke up the next morning, having been freezing, and set about carrying out the most important task of a Sunday morning camping: making coffee.

Grinding coffee with two stones because we forgot the grinder
But not just any coffee. We brought our AeroPress, camping gas, whole bean coffee, and… damn it, we didn't have a grinder. We'd forgotten it at home, 250 km away.
The nearest town was about half an hour away, and the mere mention of specialty coffee would make us look like what we were: city sybarites in the countryside.
Regressing to a previous evolutionary state, probably due to a lack of caffeine, we decided to try grinding the coffee with two stones we'd found in the river (so they'd be flat and clean). And, with a lot of dedication and a little brainpower, we managed to grind the coffee.
Legend has it that this is how French coffee makers were invented. A man of French origin forgot his coffee pot while traveling. So he decided to pour the ground coffee directly into the water and then looked for a filter that would allow him to push the coffee to the bottom of the pot with an elongated, cylindrical metal implement. Et voilà , he had invented the French press coffee maker, a very original name. Luckily, it's also known as a plunger coffee maker or a piston coffee maker.
And the “official” history of French press coffee makers?

French press coffee maker design by Attilio Calimani and Giulio Moneta
As is often the case, the "official history" is much more boring than the one we just told you, but it's no more accurate for that. The difference is that for the official history, we have a patent registry that gives us a date: 1852 .
We don't know if it was the same French-born individual from our story, or some of his fellow countrymen, who first registered a patent for a rudimentary French press coffee maker. Their names were Mayer and Delforge , and we like to believe one of them was the same, since it gives us hope that we can patent a new method for grinding coffee. We've called it the Spanish rock grinder.
But the French design had some gaps, mainly because it didn't create a sealing effect inside the container, so the coffee mixed back into the water, albeit in a smaller amount.
So some Italians decided they could do better (of course!) and filed a new patent in 1929. And, to top it all off, a Swiss man, Faliero Bondanini (who, judging by his name, could be the Italians' clever cousin) designed and patented the French press coffee maker we know and use today.

French press coffee maker we use today
The Swiss, true to his heritage, did manage to successfully manufacture and sell this method under the name " Chambord ." It was so successful in France that it's why we call it a French press coffee maker, and not in honor of our fellow coffee buff.
In any case, Badum, a Danish company, ended up buying the patent and factory for these French press coffee makers and in many places the brand name has become associated with this method of preparing coffee, which is essentially a filter/immersion method .
French press coffee makers are an example of the European spirit of cooperation. And we Spaniards, not to be left out and to give it our own twist, also call it a piston coffee maker. I'll leave it at that.
How do French press coffee makers work?

Preparing a French Press at Ineffable Coffee
If our history lesson has piqued your curiosity about this method of coffee preparation, you might be wondering what great feat of engineering required three different patents and an entire (or almost an entire) continent to develop.
The answer to how French press coffee makers work is quite simple , so we suspect that this wasn't the reason for so many patents, but rather that we Europeans have always liked to lend a hand.
A French press coffee maker is a total immersion brewing method . No, you don't submerge yourself in the coffee (although sometimes that wouldn't be a bad idea...) but rather, from the very beginning, the entire coffee is in contact with the water.
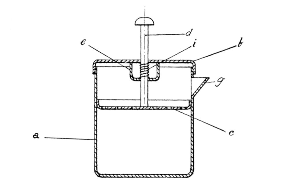
It consists of two main parts: a cylindrical container and a circular, flat metal (or other material) filter system that fits perfectly into this cylinder and is attached to a metal rod that helps insert and remove the filter.
The general idea is very simple. You pour the ground coffee into the cylindrical container, then add hot water, stir, let it sit for a few minutes, and finally, push all the coffee particles to the bottom with the filter .
The result is a full-bodied, textured, and somewhat oily coffee infusion. If you prefer cleaner brews, free of coffee residue, like a V60, this method may not be for you. But you can't miss it either. Decide later.
Best French Press Coffee Makers

Timemore French press coffee maker, available at the Ineffable store
It's hard to believe that a French press coffee maker can be bad, but it's possible. If the filter doesn't fit snugly into the container or is too thick, the coffee particles won't be pushed to the bottom or retained, resulting in a coffee that's too gritty. It's normal for the brew to be a little cloudier than with other methods (such as an AeroPress or V60 ) and full-bodied, but it shouldn't be excessive.
It's also important that the filter is removable so it can be cleaned properly after each use, and that the materials used are of high quality to ensure greater durability.
There are French press coffee makers with glass containers and others with stainless steel ones. We recommend glass ones because they're transparent, making preparation easier and, why not, more visually appealing.
You can take a look at some of the French press coffee makers we have in our store .
How to make coffee in French press coffee makers?

The French press coffee maker is a total immersion method
We've already seen that the idea of how to make coffee in a French press coffee maker is quite simple, and this is one of its great advantages.
Since it's a relatively easy method, we can consistently achieve good results. This doesn't mean there aren't certain things we should keep in mind.
As with all methods, there are certain variables we must control. In this case, the most important are: the coffee-to-water ratio, the coarseness of the grind, the water temperature, and the steeping time . If you follow the following recipe and keep these variables in mind, you'll get an excellent cup of coffee.
How to use French press coffee makers?
To make this recipe, you'll need a French press coffee maker, grinder, scale, timer, stirrer, and kettle . And, of course, coffee. We recommend using single-origin coffees with a filter roast like this one or this one (store link).
You should calculate 12 grams of coffee per 200 grams/ml of water . The coffee should be medium ground , and we recommend using filtered water at a temperature of 94 degrees . Water with a dry residue between 125 and 175 mg/liter would be ideal.
French Press Recipe
- Preheat the plunger and discard this water.
- Grind the coffee to a medium coarseness.
- Place the plunger on the scale, add the coffee, tare the scale, and start the stopwatch.
- Pour in the 200g of water, stir gently a couple of times, and put the lid on.
- Let it rest until it reaches the total of 4 minutes.
- Lower the filter slowly.
- Once the filter is down, you can let it sit for another 2-4 minutes to give the flavors more complexity, although it's not necessary. After the first 4 minutes, it's ready to drink.
Enjoy seasonal coffee, visit our store
Immersion vs. filter

French press coffee maker and other immersion and filter methods
As we have said, the French press coffee maker (we did not mention the piston coffee maker because it reminds us of the mechanics of a car, that is, notes of rubber and engine oil...) is an immersion method .
This means that the coffee comes into full contact with the water from the start, creating an infusion. Other immersion methods include cupping, the AeroPress , or the Clever.
With filter methods, such as a HARIO V60, Chemex, or Kalita Wave, however, the idea is different. Instead of the coffee being in contact with the water throughout and infusing, the coffee is placed in a filter, usually made of paper, over a container, and then hot water is poured in, which filters into the container.
Both methods have their advantages and disadvantages, and choosing one method or another will depend on the type of coffee we want to use and our personal preferences . The following table lists some of the general characteristics of each method:
| Immersion | Filter |
| Extraction by infusion | Extraction by filtration |
| Variable infusion time | Variable way of pouring water |
| Easier to get consistent results | More difficult to obtain consistent results |
| Full-bodied coffee | Complexity of tasting notes |
| Thicker/more intense mouthfeel | More delicate and acidic notes |
These are just some of the features of immersion methods, primarily French press coffee makers, compared to filter methods.
It should be noted that in immersion methods that also use paper filters and pressure (such as AeroPress), these characteristics may change.
Equip yourself with our accessories, visit our store
You must try the French press coffee maker

Tasting with different preparation methods
Due to the simplicity of the method and the many possibilities for experimentation it offers by playing with the different variables, French press coffee makers are a great option for getting started in specialty coffee .
This doesn't mean, by any means, that it isn't a valid method for those with experience or specialty coffee professionals. When done correctly, it offers excellent results that won't disappoint even the most discerning palates .
Ultimately, the method we use for coffee extraction will depend on both the coffee we have and our personal preferences and abilities.
Therefore, a French press coffee maker is a safe investment that you will keep in your coffee arsenal and use forever.
Do you want to try it?




